Air of Authority - A History of RAF Organisation


Home Page

Main Menu

Quick Menu

Members' Area

What New?

About this site

Reunions

Help Needed?

Glossary

Bibliography

Sign Guest Book

View Guest Book

Link to Amazon

Online Store

Contact Me


Plant Equipment - AP3036, Part 1 (1st Ed) & Part 2 (2nd Ed) Earth Moving Equipment 1


(1st Ed) indicates that the Part/Section was in the original 1st Edition of AP3036.  (2nd Ed) indicates that the Part/Section was in the original 2nd Edition of AP3036, whilst the addition of AL? indicates which Amendment List, introduced this Part/Section following the original release of AP3036 (2nd Edition)

Section 1 (1st & 2nd Ed) - Excavators and attachments

Excavators - General

  1. Excavators in one form or another are in demand on the majority of the larger civil engineering projects.  The uses and descriptions of each type are given

    1.      Excavators in one form or another are in demand on the majority of the larger civil engineering projects.  The uses and descriptions of each type are given under the headings below

    2.      The modern excavator takes the form of a "basic machine" to which can be fitted one  of a variety of attachments according to the type of excavation to be performed.  The basic machine has the following essential features; -

    a.       Superstructure consisting of a power unit and controls housed in the operator's cab

    b.      Carriage or roller 'turntable, upon which the superstructure is mounted, giving a full circle traverse.

    c.       Crawler tracks to enable the machine to move about on the site.

    3.      There are usually  two travelling gears giving speeds of approximately ¾ mph in low gear and 1½ - 2 mph in. high gear.  These speeds and the fact that the weight of the machine is unsprung, make it unsuitable for road travel, except for very short distances.

    4.      Excavators are made in a wide range of sizes commonly denoted by the bucket capacity.  The smallest sizes are the most frequently used, those held by the ACB being 3/8. 5/8 and 7/8 cu yd capacity.

    Excavator terminology

Attachments

1.      There are seven standard types of attachments which can be fitted to the basic machine: -

a.       Face Shovel -

                                                              i.      Crowd Shovel

                                                            ii.      Luffing Shovel.

b.      Skimmer Scoop.

c.       Drag Shovel (or Back Actor).

d.      Dragline.

e.       Grab and Clamshell.

f.       Crane

g.      Pile Driver.

Face Shovel    -

  1. Crowd Shovel

a.       This attachment is illustrated in 'Ruston-Bucyrus 7/8 cu yd Excavator Type 24RB and attachments'.

b.      On this machine the jib is fixed during operation and the bucket is carried on an arm known as a "dipper".  The dipper arm which is pivoted approximately half-way down the jib can be racked in or out or swivelled about the pivot.  Racking the dipper arm out is known as "crowding"  and increases the length of arm between the bucket and the pivot, causing the bucket to dig into the material being excavated

c.       The Crowd Shovel is used for the excavation of high faces such as those encountered in quarries.  The upper half of the face should be removed first to prevent undercutting and to avoid having to force a full bucket through the whole height of the face.

d.      It is the most powerful of the attachments and can dig very hard material but rock faces require blasting first.

e.       Largely because of the fixed jib this attachment is the fastest in operation and consequently has an output factor higher than that of the Luffing Shovel describe below.

7.      Luffing shovel.

  1. This attachment which sometimes incorporates an auxiliary 'A' frame is shown in an illustration of a Face Shovel in Smith 5/8 cu yd Excavator Type 5/20 and attachments

  2. The bucket is carried on a dipper arm pivoted approximately half-way along the jib but unlike the Crowd Shovel this dipper arm has no racking movement.  Instead the jib is movable in operation.

  3. The Luffing Shovel is used for the same type of work as the Crowd Shovel but it is not quite so powerful and is therefore used for softer materials.

  4. This machine is slower in operation than the Crowd Shovel but is easier to operate.

  5. Conversion from luffing gear to other attachments as easier and quicker than from the Crowd Shovel.

 Skimmer Scoop

      8.      The attachment is illustrated in 'Smith 5/8 cu yd Excavator Type 5/20 and attachments'

9.      The Skimmer Scoop digs from the level of the tracks up to a height of about five feet.  In operation the bucket runs on rollers along a movable jib.  In addition to the jib attachment an auxiliary 'A' frame is incorporated as shown in the illustration in Smith 5/8 cu yd Excavator Type 5/20 and attachments

10.  As its name suggests the Skimmer Scoop is used mainly for stripping off the layers subsoil for road formations.  It leaves a very clean surface which needs little or no further. preparation before taking road bases.

11.  Other uses are in road widening where restricted space prevents the use of Scrapers and for loading loose material into transport.

12.  When using a Skimmer Scoop the following points should be noted

a.       The bucket must not be dropped heavily to the ground.

b.      Bumping the bucket against the stops at either end of the jib must be avoided.

c.       "Sweeping" to obtain a flat surface (i.e. resting the bucket on the ground and slewing the machine) must not be practised as it places undue stress on the centre post.

d.      The bucket must never be used for tamping.

Drag Shovel (or Back Actor) 

13.  This attachment, which also incorporates an auxiliary 'A' frame, is illustrated in Smith 5/8 cu yd Excavator Type 5/20 and attachments.

14.  . The bucket arm is pivoted at the head of' the jib and both the jib and bucket are moved together.  The bucket moves towards the jib when digging.

15.  The Drag Shovel is always used for digging below ground level and its primary use is for digging trenches for pipe lines and cables.  It can however, be used for excavating foundations, etc.

16.  When used for trenching, the machine straddles the trench and as excavation proceeds travels backwards leaving a clean -sided trench.

17.  The Drag Shovel can perform three operations: -

a.       Excavation of the trench.

b.      Pipe-laying with the Drag Shovel alongside the trench lowering heavy pipes.

c.       Backfilling the trench with the Drag Shovel on one side of the trench and the spoil on the other side being pulled into the cavity.

Dragline

18.  This attachment is shown in Smith 5/8 cu yd Excavator Type 5/20 and attachments.  The Dragline has a boom of lattice construction approximately twice as long as the jibs in the previous attachments.  There is no bucket arm, the bucket being operated by ropes only.

19.  The Dragline is normally used for digging below its own level especially at depths below those worked at the Drag Shovel.  It has a far greater working radius than the previous attachments.  The Dragline can thus be used for river dredging and digging deep cuttings.

20.  The machine must work on firm ground and care must be taken that it is not too near the excavation, otherwise its weight may result in a crumpling of the edge and tipping of the machine.

21.  In operation the hoist rope must not be let out so far that the pulley block lies in the bucket.  The hoist rope must be let out sufficiently to place the bucket where required and during dragging the hoist chain must be sufficiently taut to keep the bucket digging into the excavation

22.  The dumping rope may be adjusted in length to suit sticky or loose material. Figure I (a) shows the bucket when carrying sticky material, and Figure 1 (b) shows the angle of the bucket with loose or very wet material.

Fig 1 (a) & (b)

23.  In hard material, or when the teeth have difficulty in penetrating the material, the drag clevis should be reversed as shown in Figure 2 (b). Sometimes this type of drag clevis is replaced by an ordinary lug which can be bolted in either of two positions about six inches apart vertically on the bucket.

Fig 2 (a) & (b)

24.  The boom must not be derricked unless the bucket is on the ground to prevent wear the derricking gear.

25.  The Smith 3/8 cu yd Excavator Type 2/10 with Dragline attachment may be modified for use as a "Side Dragline".  The Side Drigline is especially suitable for excavating ditches and for excavating narrow cuttings where an ordinary Dragline cannot be used.

26.  The Side Dragline stands close to the edge of the cutting to be excavated with its tracks parallel to the cutting, and travels backwards as excavation proceeds. The modification from the Standard Dragline to the Side Dragline is effected by shortening the bucket hoist chain on the side of the bucket furthest from the Excavator, and by shortening the drag chain on the bucket nearest the Excavator.

 Grab and Clamshell

27.  An illustration of this attachment appears in Smith 5/8 cu yd Excavator Type 5/20 and attachments.

28.  Both these attachments incorporate the Dragline boom and are used for handling loose in piles, and loading into transport.  They can also be used for digging sand and silt beds.

29.  Both attachments are operated by two ropes, a hoist rope and a holding rope The Grab, which has teeth, is used for harder and more uneven materials than the Clamshell, which has no teeth and which is used for handling sand etc.

30.  In operation, the foot brake should not bind the hoisting rope drum otherwise the bucket may tend to close as it descends by the holding rope.

31.  While the Grab (or Clamshell) is loaded the boom must not be raised or lowered as this causes wear on the derricking gear. 

Crane

32.  This attachment is illustrated in Smith 5/8 cu yd Excavator Type 5/20 and attachments.

33.  Onlv one drum is required for the operation of the Crane and the Dragline boom is used.

34.  Care must be taken to lift loads gently and without jerks.  The hoist clutch must be applied gradually until the full load is taken up.

35.  It is important to ensure that the boom is set at the correct angle for the load to be lifted, in accordance with the load indicator on the boom.

36.  The load must be lifted vertically and in slewing the load must be steadied to avoid swinging.

37.  Like the Dragline and Grab, the Crane must not be derricked when carrying a load.

Pile Driver

38.  This attachment is similar to the Crane but instead of the hook the rope carried a large weight or "monkey" which is raised and allowed to fall on steel or timber piles which have to be driven into the ground.  A system of guides is fitted to the boom so that the monkey hits the pile squarely and so that the pile is driven vertically.

Notes on General Operation of Excavators

39.  The excavator must stand on level ground otherwise slewing will be uneven and undue stress on the centre post will occur.  If the machine is not level the surface of the lubricating oil in the engine sump may fall below the oil pump.

40.  If the Excavator has to stand on boggy ground the machine must be placed on timber mats to distribute the weight and so prevent sinking.

41.  To obtain maximum output and serviceability from the Excavator, smoothness in operation is as important as speed.

42.  The position of the Excavator in relation to the transport and the job in hand together with the cycle of operations, must be considered before starting work.  If possible place the vehicles to be loaded one on each side of the Excavator so that a quarter swing in one direction will load the first vehicle and while it is drawing away and another vehicle taking its place, a quarter swing to the other side will find another vehicle to be loaded.

43.  An operator must never dismount from the machine leaving the bucket held by the brak off the ground. Normal operation tends to warm and so expand the brake housings-* the machine is left, the housings may cool off and contract allowing the brake to slip and th bucket to droçi. The bucket must therefore always be lowered to the ground before ieavjfl the machine.

44.  The following points with regard to ropes should be noted

a.       Avoid sudden tautening and whipping.

b.      Avoid crossing or heaping up on the drums

c.       Avoid kinks when uncoiling new ropes.

Changing Attachments

45.  The maker's handbook (Volume I) should be studied before an attachment is changed and the rope reeving should be performed as laid down by the maker.

Transporting Excavators

48.  Wooden ramps, or metal ramps covered with wood, should be used in loading an Excavator on to a transporter.  The Excavator tracks are smooth and they will slip on metal ramps.

49.  Slewing must be avoided whilst on the ramps owing to the danger of collapse of the ramps under the stress.

50.  If the Excavator is to travel without an attachment, it must be loaded up the ramps with the superstructure across the tracks otherwise the unbalanced weight may cause it to tip over.

51.  After the Excavator is on the vehicle, it must be firmly chocked and chained to the body and the slewing lock must be engaged.

 

Ruston-Bucyrus 7/8 cu yd Excavator Type 24RB and attachments

Ruston-Bucyrus 7/8 cu yd Excavator Type 24RB and attachments 

Ruston Bucyrus 24RB/Face shovel with Crowding Gear

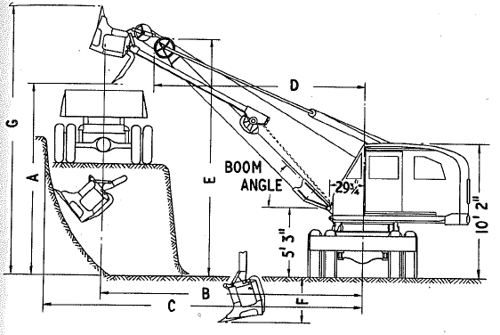
Description The excavator is fitted with a face shovel attachment of the chain crows type.  It is powered by a 77 hp diesel engine and is suitable for working at quarry faces  The engine and operating machinery is placed to the rear of the centre post in order to balance the weight of the jib, thereby reducing the stress on the centre post.

When used as a Dragline, this excavator can have one of three different lengths of boom.  The standard boom is 40 ft long, being made up of two sections but the addition of one of two different centre sections can be extended to 50 ft and 60 ft.  (se diagram below)

When the two longer booms are used it is advisable to fit a taller 'A' frame or to use a smaller bucket in order to reduce the stresses in the derrick rope.  For the same reason, if it is necessary to work the Dragline with the boom at an angle of less than 40o, it is advisable to use a smaller bucket.

This vehicle was shown in AP3036 (1st Edition) so was probably in use before 1944.  It remained in the initial issue of AP3036 (2nd Edition) so was still in use

Engine Main - Ruston 4-cylinder, diesel engine, Type VPBN, 77 hp at 875 rpm (governed)

Starting - Ruston Hornsby, Type 6PS, single cylinder, petrol engine driving a single cylinder air compressor.

Working Weight 46,400 lb
Speed Travelling  - 0.75 mph (at normal engine speed)

Slewing (no load) - 3.82 rpm

Rope speed at drum (no load) - 152 ft/min

Dimensions Running gear -
  • Centre to centre of Tracks - 7 ft 4 in
  • Width of track links - 1 ft 7 in
  • Length on ground - 10 ft 8 in
  • Ground contact area - 4,090 sq in

Overall (excluding attachment)-

  • Length - 14 ft 10 in
  • Width - 10 ft 11 in
  • Width of tracks - 8 ft 11 in
  • Height - 10 ft 7 in
  • Ground Clearance - 10 in
  • Clearance radius of cab - 9 ft 6 in
  • Ground Clearance of cab - 3 ft 1¼ in
Fuel Consumption 2 gallons per hour.

 

The average outputs for this attachment are:-

  • Earth, loose sand and gravel - 65 cu yd per hour

  • Easy clay - 50 cu yd per hour

  • Stiff clay - 35 cu yd per hour

The standard length of the dragline jib or boom is 40 ft but a longer boom, to permit operation at a greater radius, can be used if a lighter bucket is used, but the capacity will be reduced.

The weight of this attachment is 6,707 lb:  Weight of Excavator and Dragline - 53,107 lb

Length of boom

40 ft 0 in 40 ft 0 in 50 ft 0 in 60 ft 0 in

Capacity of bucket

7/8 cu yd ¾ cu yd 5/8 cu yd ½ cu yd

Angle of boom

40o 34o 33o 38o
  • A = Dumping height
  • B = Dumping radius
  • F = Throw of bucket at ground level
  • F1 = Throw of bucket at bottom of cut
  • H = Digging depth below ground level (approx)
  • K = Clearance radius of cob
  • L = Ground clearance of cab
  • M = Height to top of 'A' frame
  • M = Overall height of cab
  • P = Distance from boom to centre of rotation
  • R = Minimum distance from top of boom to bottom of bucket (Approx)
  • 21 ft 6 in
  • 35 ft 0 in
  • 14 ft 0 in
  • 18 ft 0 in
  • 18 ft 0 in
  • 9 ft 6 in
  • 3 ft 1¼ in
  • 14 ft 1 in
  • 10 ft 7 in
  • 3 ft 9 in
  • 9 f t6 in
  • 25 ft 6 in
  • 37 ft 9 in
  • 14 ft 0 in
  • 18 ft 0 in
  • 19 ft 0 in
  • 9 ft 6 in
  • 3 ft 1¼ in
  • 14 ft 1 in
  • 10 ft 7 in
  • 3 ft 9 in
  • 9 f t6 in
  • 21 ft 3 in
  • 46 ft 6 in
  • 15 ft 0 in
  • 19 ft 0 in
  • 23 ft 0 in
  • 9 ft 6 in
  • 3 ft 1¼ in
  • 14 ft 1 in
  • 10 ft 7 in
  • 3 ft 9 in
  • 8 ft 9 in
  • 33 ft 0 in
  • 51 ft 0 in
  • 16 ft 0 in
  • 20 ft 0 in
  • 26 ft 0 in
  • 9 ft 6 in
  • 3 ft 1¼ in
  • 14 ft 1 in
  • 10 ft 7 in
  • 3 ft 9 in
  • 8 ft 0 in

 

Smith 5/8 cu yd Excavator Type 5/20 and attachments

Smith 5/8 cu yd Excavator Type 5/20 and attachments 

Description

This machine can be powered by one of three different engines, see below.

It can be fitted with the following attachments: -

  1. Face shovel
  2. Skimmer scoop
  3. Drag shovel
  4. Dragline
  5. Grab
  6. Crane

any one of the above attachments can be fitted by four men in an average time of four hours.

MT vehicle require for transportation (Excavator & attachments) - Rogers, 40 ton trailer or similar

MT vehicle require for transportation (Excavator only) - SMT, 20 ton, 16 wheel, low-loading trailer. (short distances only and not gradients exceeding 1 in 12.

This vehicle was shown in AP3036 (1st Edition) so was probably in use before 1944.  It remained in the initial issue of AP3036 (2nd Edition) so was still in use

Engine/Transmission Engines
  • Crossley, 4-cylinder, diesel engine, Type BWB4 (starting by air compressor powered by Villiers 1½ BHP single cylinder petrol engine.
  • National, 5-cylinder, diesel engine, Type DA5 fitted with 12V electric starter motor and decompression lever or a JAP Model 4/2 petrol engine.
  • Fowler-Sanders, 5 cylinder, diesel engine, Type 5B fitted a 12V electric starter motor and decompression lever.

Transmission

It is fitted with a two speed gearbox for the operation of the excavator, which simultaneously affects the four movements of travelling, slewing and the two rope drums.

Weight (without attachment) 35,840 lb
Fuel Consumption 1½ gallons per hour.
Speed Travelling  - 7/8 mph (low gear), 1½ mph (high gear)

Slewing - 4 rpm (low gear), 5½ rpm (high gear)

Rope speed, front barrel - 135 ft/min (low gear), 189 ft/min (high gear)

Rope speed, rear barrel - 150 ft/min (low gear), 210 ft/min (high gear)

Dimensions Running gear -
  • Centre to centre of Tracks - 7 ft 0 in
  • Length on ground - 10 ft 5 in
  • Width of track links - 1 ft 4 in
  • Number of track links in each crawler - 29
  • Ground contact area - 3,072 sq in

Overall (excluding attachment)-

  • Length - 13 ft 8½ in
  • Width - 8 ft 10 in
  • Width of tracks - 8 ft 11 in
  • Height - 11 ft 3 in
  • Ground Clearance - 1 ft 3 in
  • Clearance radius of cab - 8 ft 6 in
  • Ground Clearance of cab - 3 ft 4 in

Smith 5/8 cu yd Excavator Type 5/20 with Face Shovel

It is generally used for face heights from 5 ft to 20 ft and the attachment can dig down 4 ft 6 in below the ground level on which the excavator is standing and can be used for digging hard clay.

The average outputs for this attachment are:-

  • Earth, loose sand and gravel - 75 cu yd per hour

  • Easy clay - 55 cu yd per hour

  • Stiff clay - 45 cu yd per hour

Operating data: -

Jib angle 45o

  • Maximum cutting radius - 24 ft 3 in

  • Maximum height to bucket teeth - 20 ft 3 in

  • Maximum dumping height (bucket door open) - 15 ft 3 in

  • Maximum digging depth below ground level - 4 ft 6 in

  • Maximum radius of level floor - 15 ft 3 in

Jib angle 60o

  • Maximum cutting radius - 22 ft 3 in

  • Maximum height to bucket teeth - 24 ft 3 in

  • Maximum dumping height (bucket door open) - 18 ft 6 in

  • Maximum digging depth below ground level -  3 ft 0 in

  • Maximum radius of level floor - 14 ft 0 in

Weights (working order)

  • Complete Face Shovel attachment (chain crowd) - 6,944 lb

  • Excavator and Face Shovel attachment (chain crows) - 42,784 lb

  • Complete Face Shovel attachment (rope crowd) - 6,584 lb

  • Excavator and Face Shovel attachment (rope crows) - 42,424 lb

Smith 5/8 cu yd Excavator Type 5/20 with Face Shovel-Luffing

Operating data: -

This machine is fitted with an 'A' Frame

  • Maximum cutting radius - 21 ft 6 in

  • Maximum height to bucket teeth - 22 ft 0 in

  • Maximum dumping height (bucket door open) - 16 ft 0 in

  • Maximum digging depth below ground level - 2 ft 6 in

  • Maximum radius of level floor - 16 ft 0 in

The average outputs for this attachment are:-

  • Earth, loose sand and gravel - 65 cu yd per hour

  • Easy clay - 50 cu yd per hour

  • Stiff clay - 35 cu yd per hour

Weights (working order)

  • Complete Luffing Shovel attachment - 5,500 lb

  • Excavator and Luffing Shovel attachment- 41,340 lb

Smith 5/8 cu yd Excavator Type 5/20 with Skimmer Scoop

This attachment is used when the face material is below 5 ft above ground level.  It can also be used for turf stripping, and rough grading and levelling.  The Skimmer scoop has the same jib as the Drag Shovel.

Operating data: -

  • Maximum cutting radius - 23 ft 6 in

  • Maximum bucket travel - 12 ft 0 in

  • Maximum dumping height - 17 ft 0 in

  • Maximum dumping radius - 17 ft 0 in

  • Clearance height for maximum dumping height - 22 ft 0 in

The average outputs for this attachment are:-

  • Earth, loose sand and gravel - 65 cu yd per hour

  • Easy clay - 50 cu yd per hour

  • Stiff clay - 35 cu yd per hour

Weights (working order)

  • Complete Skimmer Scoop attachment - 4,928 lb

  • Excavator and Skimmer Scoop attachment- 40,768 lb

This attachment is used for digging below the ground level of the excavator, chiefly for digging trenches for pipelines.  It can also be used for grubbing up edges, digging sumps and backfilling trenches.  The standard width of the bucket is 3 ft but a wider trench may be cut by changing the side cutters on the buckets.  The Drag Shovel has the same jib as the Skimmer scoop.

Operating data: -

  • Maximum reach of bucket at ground level - 29 ft 3 in

  • Maximum trench depth (jib between tracks) - 19 ft 0 in

  • Maximum trench depth (jib across corner of tracks) - 17 ft 6 in

  • Maximum discharge radius - 27 ft 0 in

  • Dump height clearance at minimum radius - 9 ft 6 in

  • Width of standard bucket - 3 ft 0 in

The average outputs for this attachment are:-

  • Earth, loose sand and gravel - 65 cu yd per hour

  • Easy clay - 50 cu yd per hour

  • Stiff clay - 35 cu yd per hour

Weights (working order)

  • Complete Drag Shovel attachment - 5,264 lb

  • Excavator and Drag Shovel attachment- 41,104 lb

Smith 5/8 cu yd Excavator Type 5/20 with dragline

Dimensions

This attachment is used for digging below the ground level to a greater depth than the Drag Shovel.  It can also be used for digging material which is wet or under water below ground level to enable the excavator and transporting vehicles to remain on higher dry ground.  The dragline also has a greater radius for loading vehicles and can load vehicles up to 48 ft from the centre of the excavator.  It is useful for canal and river dredging and will cut and trim the bank nearest the excavator and rough cut the opposite bank.

The average outputs for this attachment are:-

  • Earth, loose sand and gravel - 65 cu yd per hour

  • Easy clay - 50 cu yd per hour

  • Stiff clay - 35 cu yd per hour

The standard length of the dragline jib or boom is 40 ft but a longer boom, to permit operation at a greater radius, can be used if a lighter bucket is used, but the capacity will be reduced.

Operating data: - Boom angle 40o

  • A = Working radius - 37 ft

  • C = Throw out of bucket beyond working radius - 20 ft

  • D = Discharge height - 15 ft

  • E = Depth of end cut - 19 ft

  • F = Depth of cross cut - 15 ft

The average outputs for this attachment are:-

  • Earth, loose sand and gravel - 65 cu yd per hour

  • Easy clay - 50 cu yd per hour

  • Stiff clay - 35 cu yd per hour

Weights (working order)

  • Complete Dragline attachment - 4,200 lb

  • Excavator and Dragline attachment- 40,040 lb

Smith 5/8 cu yd Excavator Type 5/20 with Grab

This attachment is used for handing loose material such as sand, coke silt and mud, either on land or under water, but only employing a vertical lift.  The dragline jib is used with a grab bucket. 

Operating data: -

  • Bucket capacity - 5/8 cu yd

  • Gross load - 5,040 lb

  • Working radius 'R' - 24 ft

  • Height 'H' - 32 ft

The average outputs for this attachment are:-

  • Earth, loose sand and gravel - 65 cu yd per hour

  • Easy clay - 50 cu yd per hour

  • Stiff clay - 35 cu yd per hour

Weights (working order)

  • Complete Grab attachment - 3,416 lb

  • Excavator and Grab attachment- 39,256 lb

Smith 5/8 cu yd Excavator Type 5/20 as a crane

The Crane attachment convert the excavator into a crane that can lift the following loads: -

Load (tons) Radius 'R' (ft in) Height 'H' (ft in)
5 14  0 38  6
4 17  0 37  6
3 21  0 36  0
2½ 23  6 32  0
2 27  0 30  0
1½ 31  0 28  0

The dragline jib is used with a wire rope, crane block and hook.  The same boom is used for the Dragline and Grab but only one drum is used in the operation of the crane.

Weights (working order)

  • Complete Crane attachment -2,632 lb

  • Excavator and Crane attachment- 38,472 lb

 

Smith 3/8 cu yd Excavator Type 2/10 and attachments

Smith 3/8 cu yd Excavator Type 2/10 from front right Smith 3/8 cu yd Excavator Type 2/10 from front left

Description This machine may be powered by either of the two engines shown below.

It can be fitted with the following attachments: -

  1. Face shovel (Luffing Type)
  2. Skimmer Scoop
  3. Drag shovel
  4. Dragline
    1. Standard Dragline
    2. Side Dragline
  5. Grab
  6. Crane
  7. Pile Driver

There are only two jibs for these attachments, (1) for Face Shovel, Skimmer Scoop and Drag Shovel and (2) for the Dragline, Grab, Crane and Pile Driver.  If the latter jib is modified slightly, a Ruston Bucyrus 10 RB Pile Driver may be fitted.

The standard Dragline may be modified as a Side Dragline, which is especially suitable for excavating ditches and narrow cuttings where an ordinary Dragline cannot be used.  In operation the Side Dragline stands close to the edge of the cutting to be excavated, with its tracks parallel to the cutting and travels backwards as excavation proceeds.

The modification of the Standard Dragline to the Side Dragline is effected by shortening the bucket hoist chain on the side further from the excavator and by shortening the drag chain on the side nearest to the Excavator.

Any one of the above attachments can be fitted by four men in 3 - 4 hours.

MT vehicle require for transportation - SMT, 20 ton, 16 wheel, low-loading trailer.

This vehicle was shown in AP3036 (1st Edition) so was probably in use before 1944.  It remained in the initial issue of AP3036 (2nd Edition) so was still in use

Weight (without attachment) 16,268 lb
Engine/Transmission Engines
  • Dorman, 2 cylinder, diesel engine, Type 2 DWD - started by hand cranking and decompression lever
  • Fowler-Sanders, 2 cylinder, diesel engine, Series 2B - started by hand cranking and decompression lever

Transmission

It is fitted with a two speed gearbox for the operation of the excavator, which simultaneously affects the four movements of travelling, slewing and the two rope drums.

Fuel Consumption 5/8 gallons per hour.
Speed Travelling  - 5/8 mph (low gear), 1¼ mph (high gear)

Slewing - 4 rpm (low gear), 6 rpm (high gear)

Rope speed, front barrel - 110 ft/min (low gear), 160 ft/min (high gear)

Rope speed, rear barrel - 110 ft/min (low gear), 160 ft/min (high gear)

Dimensions Running gear -
  • Centre to centre of Tracks - 5 ft 4½ in
  • Length on ground - 6 ft 0 in
  • Width of track links - 1 ft 1½ in
  • Number of track links in each crawler - 31
  • Ground contact area - 1,944 sq in

Overall (excluding attachment)-

  • Length - 10 ft 3 in
  • Width - 7 ft 4 in
  • Width of tracks - 6 ft 6 in
  • Height - 9 ft 6 in
  • Ground Clearance - 10 in
  • Clearance radius of cab - 6 ft 3 in
  • Ground Clearance of cab - 2 ft 9 in

Operating data: -

  • Maximum cutting radius - 16 ft 6 in

  • Maximum height to bucket teeth - 17 ft 6 in

  • Maximum dumping height (bucket door open) - 12 ft 6 in

  • Maximum digging depth below ground level - 2 ft 6 in

  • Maximum radius of level floor - 11 ft 6 in

The average outputs for this attachment are:-

  • Earth, loose sand and gravel - 40 cu yd per hour

  • Easy clay - 35 cu yd per hour

  • Stiff clay - 20 cu yd per hour

Weights (working order)

  • Complete Luffing Shovel attachment - 2,464 lb

  • Excavator and Luffing Shovel attachment- 19,824 lb

The Skimmer Scoop has the same jib as the Face Shovel and Drag Shovel and the same bucket as the Drag Shovel.

Operating data: -

  • Maximum cutting radius - 18 ft 3 in

  • Maximum bucket travel - 8 ft 9 in

  • Maximum dumping height - 12 ft 0 in

  • Maximum dumping radius - 11 ft 6 in

  • Clearance height for maximum dumping height - 16 ft 3 in

The average outputs for this attachment are:-

  • Earth, loose sand and gravel - 40 cu yd per hour

  • Easy clay - 30 cu yd per hour

  • Stiff clay - 15 - 18 cu yd per hour

Weights (working order)

  • Complete Skimmer Scoop attachment - 1,949 lb

  • Excavator and Skimmer Scoop attachment - 19,309 lb

Smith 3/8 cu yd Excavator Type 2/10 with drag shovel

This attachment is used for digging below the ground level of the excavator, chiefly for digging and backfilling trenches for pipelines as well as excavating foundations.  It can also be used for grubbing up edges, digging sumps and backfilling trenches.  The standard width of the bucket is 2 ft 6 in but a trench up to 3 ft wide may be cut by changing the side cutters on the buckets.  The Drag Shovel has the same jib as the Face Shovel and Skimmer Scoop and the same bucket as the Drag Shovel.

Operating data: -

  • Maximum cutting radius - 23 ft 3 in

  • Maximum bucket travel - 14 ft 0 in

  • Maximum dumping height - 9 ft 6 in

  • Maximum dumping radius - 17 ft 6 in

  • Clearance height for maximum dumping height - 8 ft 0 in

  • Width of Standard bucket - 3 ft 0 in

The average outputs for this attachment are:-

  • Earth, loose sand and gravel - 40 cu yd per hour

  • Easy clay - 30 cu yd per hour

  • Stiff clay - 15 - 18 cu yd per hour

Weights (working order)

  • Complete Skimmer Scoop attachment - 2,339 lb

  • Excavator and Skimmer Scoop attachment- 19,689 lb

Smith 3/8 cu yd Excavator Type 2/10 wtih dragline

This attachment is used for digging below the ground level to a greater depth than the Drag Shovel.  It can also be used for digging material which is wet or under water below ground level to enable the excavator and transporting vehicles to remain on higher dry ground.  The dragline also has a greater radius for loading vehicles and can load vehicles up to 48 ft from the centre of the excavator.  It is useful for lake, canal and river dredging, at the same time cutting and trimming the. banks.  The same boom is used for the Crane and Grab.  For details of Side Dragline, see General Notes above.

The average outputs for this attachment are:-

The standard length of the dragline jib or boom is 28 ft.

Operating data: - Normal Duty (Boom angle 40o)

  • Working radius - 25 ft 0 in

  • Throw out of bucket beyond working radius - 8 ft 0 in

  • D = Discharge height - 11 ft 6 in

  • E = Depth of end cut - 14 ft 0 in

  • F = Depth of cross cut - 10 ft 0 in

The average outputs for this attachment are:-

  • Earth and loose sand - 40 cu yd per hour

  • Gravel - 35 cu yd per hour

  • Clay - 25 cu yd per hour

Weights (working order)

  • Complete Dragline attachment - 1,904 lb

  • Excavator and Dragline attachment- 19,264 lb

 

Smith 3/8 cu yd Excavator Type 2/10 wtih Grab

The same boom is used for the Dragline and Crane.  The standard length of the jib or boom is 28 ft.

Operating data: -

  • Bucket capacity - 3/8 cu yd

  • Gross load - 1,240 lb

  • Working radius - 19 ft

  • Height - 16 ft

The average outputs for this attachment are:-

  • Earth, loose sand and gravel - 65 cu yd per hour

  • Easy clay - 50 cu yd per hour

  • Stiff clay - 35 cu yd per hour

Weights (working order)

  • Complete Grab attachment - 2,352 lb

  • Excavator and Grab attachment- 19,712 lb

Smith 3/8 cu yd Excavator Type 2/10 wtih Crane

The same boom is used for the Dragline and Grab.  The standard length of the jib or boom is 28 ft.  The dragline jib is used with a wire rope, crane block and hook.  The same boom is used for the Dragline and Grab but only one drum is used in the operation of the crane.

The Crane attachment converts the excavator into a crane that can lift the following loads: -

Load Radius 'R' Height 'H'
5.036 lb 10 ft 0 in 28 ft 0 in
3,360 lb 14 ft 0 in 27 ft 0 in
2,240 lb 19 ft 0 in 24 ft 0 in
1,676 lb 23  6 20 ft 0 in

Weights (working order)

  • Complete Crane attachment - 1,008 lb

  • Excavator and Crane attachment- 18,368 lb

 

Michigan, ½ cu yd, Excavator, Type TMCT-16 and attachments

 

Description
  1. The excavator, and the Michigan chassis upon which the excavator is mounted, are each powered by a Buda-Lanova diesel engine, Type 6DT317; the chassis is of orthodox design and has a tandem dual drive rear axle.

  2. Attachments for the excavator comprise two booms, a shovel, a crane, and a dragline; the operating and controlling mechanism and the engine are housed in the turntable cabin.

This item of equipment appears to have been added to the 2nd Edition by the issue of AL6.

Weight (without attachment) 16,268 lb
Engine/Transmission Engines
  • Chassis and Turntable - Buds-Lanova, Type 6DT317, 6 cylinder, water cooled, diesel:  Capacity - 317 cu in:  BHP - 44 at 1,400 rpm, 56 at 1,800 rpm.

Transmission

5 forward, 1 reverse: Ratios: -

  • 1st - 7.88 to 1
  • 2nd - 4.46 to 1
  • 3rd - 2.63 to 1
  • 4th - 1.48 to 1
  • 5th - 1 to 1
  • reverse (low) - 7.88 to 1
  • reverse (high) - 4.37 to 1

Running Gear -

  • Front - Two 9.00 x 20 pneumatic tyres
  • Rear - Eight 9.00 x 20 pneumatic tyres
Operating Data Travelling  - 18 to 20 mph maximum

Slewing - 5.4 rpm

Tail swing - 7 ft 9 in

Turning circle - 45 ft (inner), 63 ft (outer)

Dimensions Overall (excluding attachment)-
  • Length - 22 ft 0 in
  • Width - 7 ft 11 in
  • Height - 10 ft 10 in (to top of mast)
  • Wheelbase - 13 ft 4 in (to centre of tandem axles)
  • Ground Clearance - 10 in
  • Track - 8 ft 8 in
  • Ground Clearance - 9 in
Weight (in working order)
  • Chassis - 11,500 lb
  • Chassis and turntable - 28,000 lb (with shovel attachment)
  • Chassis and turntable - 26,000 lb (with 30 ft boom crane)
  • Engine (without accessories) - 1,000 lb
  • Engine (with accessories) - 1,133 lb

Face Shovel and Crowd Gear

Operating data: -

  • Boom length - 17 ft 3 in

  • Dipper stick length - 11 ft 9 in

  • Hoist speed (3 part line, 1¾ in circum) - 60 ft/min

  • Hoist pull (3 part line) - 25,380 lb

  • Boom hoist line speed - 22 ft/min

The average outputs for this attachment are:-

  • Earth, loose sand and gravel - 60 cu yd per hour

  • Easy clay - 45 cu yd per hour

  • Stiff clay - 30 cu yd per hour

Shovel Ranges: -

Ref Boom Angle 35o 40o 45o 50o 55o 60o
  • A
  • B
  • C
  • D
  • E
  • F
  • G
  • Maximum dumping height

  • Maximum dumping radius

  • Maximum digging radius

  • Clearance swing of boom

  • Clearance height of boom

  • Digging depth below ground

  • Maximum dipper height

  • 11 ft 6 in

  • 21 ft 5 in

  • 23 ft 6 in

  • 17 ft 7 in

  • 15 ft 6 in

  • 4 ft 0 in

  • 17 ft 0 in

  • 13 ft 0 in

  • 20 ft 11 in

  • 23 ft 0 in

  • 16 ft 8 in

  • 16 ft 8 in

  • 3 ft 4 in

  • 18 ft 8 in

  • 14 ft 4 in

  • 20 ft 5 in

  • 22 ft 5 in

  • 15 ft 8 in

  • 17 ft 10 in

  • 2 ft 9 in

  • 20 ft 2 in

  • 15 ft 10 in

  • 19 ft 9 in

  • 21 ft 10 in

  • 14 ft 8 in

  • 18 ft 10 in

  • 2 ft 3 in

  • 21 ft 8 in

  • 17 ft 2 in

  • 19 ft 2 in

  • 21 ft 2 in

  • 13 ft 5 in

  • 19 ft 10 in

  • 1 ft 10 in

  • 22 ft 11 in

  • 18 ft 2 in

  • 18 ft 6 in

  • 20 ft 6 in

  • 12 ft 2 in

  • 20 ft 8 in

  • 1 ft 6 in

  • 24 ft 1 in

Operating data: -

  • Boom length - 30 ft 0 in

  • Dragline speed - 110 ft/min

  • Hoist speed (single part line) - 183 ft/min

  • Dragline pull (single part line) - 13,900 lb

  • Hoist line pull (single part line) - 8,460 lb

  • Boom hoist speed - 17 ft/min

The average outputs for this attachment are:-

  • Earth, loose sand and gravel - 50 cu yd per hour

  • Easy clay - 45 cu yd per hour

  • Stiff clay - 30 cu yd per hour

Dragline Ranges: -

  • A = Operating radius - 20 ft 8 in

  • B = Dumping clearance height - 14 ft 0 in

  • C = Clearance (approx) using ½ yd bucket - 9 ft 0 in

  • D = Casting distance (dependant on skill of operator) - 8 ft to 15 ft

  • E = Digging depth (approx) using standard cables - 22 ft 0 in

Operating data: -

  • Boom length - 30 ft 0 in

  • Hoist speed (single part line) - 183 ft/min

  • Hoist line pull (single part line) - 8,460 lb

  • Hoist line pull (two part line) - 16,920 lb

  • Boom hoist speed - 17 ft/min

Capacities (with outriggers):  -

Boom radius (ft) Over side (lb) Over end (lb)
10 20,120 23,500
12 11,750 16,750
15 7,720 11,650
20 4,730 7,720
25 3,550 5,730

Capacities (without outriggers):  -

Boom radius (ft) Over side (lb) Over end (lb)
10 9,514 13,150
12 7,355 9,880
15 5,460 8,200
20 3,820 5,940
25 2,875 4,630

 

Michigan, 3/8 cu yd, Excavator, Type T6K

 

Description
  1. The Michigan T6K excavator, as used by the Airfield Construction Branch, is fitted with the crane attachment only and consists of a lorry type chassis, and a cab which houses the Mechanism and controls for operating the crane.  The length of the boom may be either 25 feet or 30 feet.  Both booms are the same except that the increase in length of the longer boom is obtained by the insertion of an additional 5-foot section.
  2. A Hercules JXC engine provides the power to drive the road wheels and also the crane mechanism.

This item of equipment appears to have been added to the 2nd Edition by the issue of AL6.

Engine/Transmission Engine
  • Hercules, Type JXC, 6 cylinder, water cooled, diesel:  Capacity - 282 cu in:  BHP - 60 at 1,900 rpm.

Transmission

5 forward, 1 reverse with 2 speed transfer box: 

Road Speeds (High): -

  • 1st - 4.5 mph
  • 2nd - 7.17 mph
  • 3rd - 13.1 mph
  • 4th - 23.1 mph
  • 5th - 31.5 mph
  • reverse - 5.15 mph

Road Speeds (Low): -

  • 1st - 2.48 mph
  • 2nd - 4.27 mph
  • 3rd - 7.84 mph
  • 4th - 12.75 mph
  • 5th - 18.85 mph
  • reverse - 3.09 mph

Running Gear -

  • Front - Two 11.00 x 20 pneumatic tyres
  • Rear - Four 11.00 x 20 pneumatic tyres
Dimensions Overall (excluding crane boom)-
  • Length - 17 ft 0 in
  • Width - 7 ft 11 in
  • Height - 9 ft 6 in
  • Wheelbase - 13 ft 4 in (to centre of tandem axles)
  • Ground Clearance - 10 in
  • Track - 8 ft 8 in
  • Ground Clearance - 9 in
Weight (in working order)
  • Without crane boom - 20,600 lb
  • 5ft extension - 190 lb
  • 30 ft crane boom - 1,002 lb
Safe working loads

Capacities (without outriggers):  -

Boom radius (ft) 25 ft boom 30 ft boom
10 2 tons 13 cwt 2 tons 10 cwt
12 1 ton 16 cwt 1 ton 14 cwt
15 1 ton 7 cwt 1 ton 5 cwt
20 1 ton 0 cwt 18 cwt
25 - 16 cwt

Capacities (with outriggers):  -

Boom radius (ft) 25 ft boom 30 ft boom
10 5 tons 5 cwt 5 tons 0 cwt
12 4 ton 11 cwt 4 ton 9 cwt
15 3 ton 3 cwt 3 ton 1 cwt
20 2 ton 2 cwt 2 tons 0 cwt
25 - 1 ton 8 cwt

The vehicle below was probably a UK version of the Michigan vehicle shown above, built under licence.

Allen Excavator, Lorry mounted, TypeTK6 (Gardner diesel engine, Type 4LW)

 For photographs of this vehicle see the sub-sections below

Description
  1. The Allen Excavator is mounted on a lorry type chassis and is self propelled.  A Gardner diesel engine provides the power to drive the road wheels and also the various attachments which may be used in conjunction with the basic machine.  The basic machine consists of the lorry chassis together with the engine, and the excavator cab, which houses the mechanism and controls for operating the attachments. T he attachments which may he fitted to the machine are: -
    1. Face shovel with crowding gear
    2. Dragline
    3. Crane
    4. Skimmer scoop
  2. Later machines delivered in 1954 against Contract 6/P & Eq/13136/CB29b(4) are similar to the earlier plant but nodified clutch linings are used on the turntable and a modified fairlead.  Changes in rope lengths are noted in the following data

This item of equipment appears to have been added to the 2nd Edition by the issue of AL63.

Engine/Transmission Engines
  • Gardner, Type 4LW, 4 cylinder, water cooled, diesel:  Capacity - 5.4 litres:  BHP - 71 at 1,700 rpm (governed).

Transmission

5 forward, 1 reverse with 2 speed transfer box: 

Road Speeds (High): -

  • 1st - 3.48 mph
  • 2nd - 6.5 mph
  • 3rd - 11.81 mph
  • 4th - 21.2 mph
  • 5th - 28.3 mph
  • reverse - 3.54 mph

Road Speeds (Low): -

  • 1st - 2.08 mph
  • 2nd - 3.91 mph
  • 3rd - 7.05 mph
  • 4th - 12.67 mph
  • 5th - 16.89 mph
  • reverse - 2.11 mph

Running Gear -

  • Front - Two 11.00 x 20 pneumatic tyres
  • Rear - Four 11.00 x 20 pneumatic tyres
Dimensions Overall (excluding attachments)-
  • Length - 17 ft 6 in
  • Width - 7 ft 11 in
  • Height - 9 ft 6 in
  • Wheelbase - 11 ft 4 in
  • Ground Clearance - 10½ in
  • Track - 8 ft 8 in
  • Ground Clearance - 9 in

Weight without attachments - 23,940 lb

Face Shovel and Crowd Gear

Allen Excavator, Lorry mounted, TypeTK6 with face shovel

Operating data: -

  • Capacity - 3/8 cu yd

  • Boom - Cylindrical: 10¾ in diameter, length - 15 ft 3 in

  • Dipper stick - Cylindrical: length - 10 ft 6 in

  • Rotating speed - 5.9 rpm

  • Crowd - Chain

  • Hoist speed (3 part line, ½ in) - 60 ft/min

  • Hoist pull (3 part line) -18,000 lb

  • Boom hoist line speed - 35 ft/min

The average outputs for this attachment are:-

  • Earth, loose sand and gravel - 55 cu yd per hour

  • Easy clay - 46 cu yd per hour

  • Stiff clay - 36 cu yd per hour

Weights: -

  • Complete Face Shovel attachment - 2,968 lb

  • Excavator and Face Shovel attachment - 26,908 lb

Shovel Ranges: -

Boom Angle 35o 40o 45o 50o 55o 60o
  • Maximum dumping height

  • Maximum dumping radius

  • Maximum digging radius

  • Clearance height of boom

  • Digging depth below ground

  • Maximum dipper height

  • 10 ft 6 in

  • 16 ft 9 in

  • 21 ft 4 in

  • 14 ft 0 in

  • 3 ft 2 in

  • 15 ft 5 in

  • 11 ft 10 in

  • 18 ft 1 in

  • 20 ft 11 in

  • 15 ft 0 in

  • 2 ft 8 in

  • 17 ft 0 in

  • 13 ft 1 in

  • 17 ft 3 in

  • 20 ft 5 in

  • 16 ft 0 in

  • 1 ft 9 in

  • 19 ft 8 in

  • 14 ft 4 in

  • 16 ft 4 in

  • 19 ft 10 in

  • 16 ft 10 in

  • 1 ft 9 in

  • 19 ft 8 in

  • 15 ft 4 in

  • 15 ft 4 in

  • 19 ft 4 in

  • 17 ft 8 in

  • 1 ft 4 in

  • 20 ft 11 in

  • 16 ft 6 in

  • 14 ft 4 in

  • 18 ft 8 in

  • 18 ft 5 in

  • 1 ft 0 in

  • 22 ft 0 in

Allen Excavator, Lorry mounted, TypeTK6  with dragline

Operating data (based on 25 ft boom at an angle of 45o): -

  • Operating radius - 20 ft 0 in

  • Dumping clearance height - 14 ft 0 in

  • Clearance (approx) using 3/8 cu yd bucket - 8 ft 0 in

  • Casting distance - 7 ft

  • Digging depth (approx) using standard cables - 15 ft 0 in

  • Boom length - 25 ft 0 in

  • Dragline speed - 122 ft/min

  • Hoist line speed (single part line) - 180 ft/min

  • Rotating speed - 5.9 rpm

  • Dragline pull (single part line) - 9,000 lb

  • Hoist line pull (single part line) - 7,000 lb

  • Boom hoist speed - 25 ft/min

The average outputs for this attachment are:-

  • Earth, loose sand and gravel - 35 cu yd per hour

  • Easy clay - 27 cu yd per hour

  • Stiff clay - 17 cu yd per hour

Weights: -

  • Complete Dragline attachment - 2,777 lb

  • Excavator and Dragline attachment - 26,711 lb

Allen Excavator, Lorry mounted, TypeTK6  with crane

Operating data: -

  • Gross load - 11,760 lb

  • Working radius - 14 to 20 ft

  • Height of lift - 26 ft 0 in

  • Boom length - 25 ft 0 in

  • Hoist line speed (single part line) - 180 ft/min

  • Closing line pull (single part line) - 7,420 lb

  • Hoist line pull (two part line) - 14,840 lb

  • Rotating speed - 5.9 rpm

  • Boom hoist speed - 25 ft/min, can be reduced to 17 ft/min

Ropes: -

  • Hoisting (5-part line) - 1-5/8 in circumference x 160 ft

  • Hoisting (4-part line) - 1-5/8 in circumference x 150 ft

  • Derrick rope - 1-1/8 in circumference x 100 ft, 1-3/8 in circumference x 130 ft

Weights: -

  • Complete Dragline attachment - 1,577 lb

  • Excavator and Dragline attachment - 25,517 lb

Safe working loads (without outriggers, with standard counterweight and 1,400 lb rear counterweight):  -

Boom radius (ft) Over side
10 2 tons 13 cwt
12 1 ton 16 cwt
15 1 ton 7 cwt
20 1 ton 0 cwt

Skimmer Scoop attachment

Allen Excavator, Lorry mounted, TypeTK6 with skimmer scoop

Operating data: -

  • Maximum cutting radius - 18 ft 7 in

  • Maximum bucket travel - 9 ft 8 in

  • Maximum dumping height - 8 ft 7 in

  • Maximum dumping radius - 15 ft 1 in

  • Clearance height for maximum dumping height - 8 ft 7 in

The average outputs for this attachment are:-

  • Earth, loose sand and gravel - 35 cu yd per hour

  • Easy clay - 28 cu yd per hour

  • Stiff clay - 20 cu yd per hour

Ropes: -

  • Bucket rope - 1-5/8 in circumference x 55 ft

  • Jib rope - 1-5/8 in circumference x 105 ft

Weights (working order)

  • Complete Skimmer Scoop attachment - 2,800 lb

  • Excavator and Skimmer Scoop attachment- 25,940 lb

 

Priestman, 3/8 cu yd, Tracked excavator, Model Wolf and attachments

 

Description
  1. The Wolf is a tracked, crawler type excavator which operates various digging attachments from two types of jibs; when used as a grabbing or lifting crane, longer jibs may be fitted to give a wider range of operation. Different scoops or buckets are used for particular types of work, and d'rricking gear is fitted to vary the height and radius of the jib when operating a dragline, grabbing crane, or lifting crane.

  2. The excavator is powered by a Fordson gasoline/kerosine engine, similar to the type used on tractors but provided with a flywheel and clutch housing to carry an extension shaft to which an engine sprocket is fitted for driving a main clutch shaft.

MT required for transportation -

  • 20 ton trailer or plant transporter

This item of equipment appears to have been added to the 2nd Edition by the issue of AL81.

Engine Fordson (tractor type) water-cooled, petrol/kerosine engine, BHP - 34 at 1,250 rpm (petrol), 27 at 1,250 rpm (kerosine)
Machine Specification

Type - Tracked crawler excavator

Attachments

  • Face shovel

  • Trencher or drag shovel

  • Skimmer

  • Dragline

  • Side dragline

  • Grabbing crane

  • Lifting crane

Operating Data

Base machine

  • Slowing radius (tailweight clearance) - 6 ft. 11 in

  • Slewing radius (jib foot pin)  2 ft. 4 in

  • Height of jib foot pin  3 ft. 4 in

Face shovel

  • Capacity of bucket - 10 cu, ft.

  • Length of jib - 15 ft. 0 in centres

  • Length of bucket arm - 7 ft. 5 in. (23 in.) centres

Preistman Wolf - Face Shovel

Grab (with 26 ft jib)

Radius 'A' Grub capacity Total  load Range of lift 'R' Discharge height Maximum depth
H1 H2 D1  D2
15 ft  12/10 cu ft 25 cwt 28 ft  17 ft 8 ft 11 ft 20 ft
20 ft 10/8 cu ft  20 cwt 31 ft  14 ft 8 ft  17 ft 23 ft
22 ft 7/6 cu. ft. 15 cwt. 31 ft. 8 ft. 3 ft. 23 ft. 23 ft

Preistman Wolf - Grab

Grab (with 31 ft jib)

Radius 'A' Grub capacity Total  load Range of lift 'R' Discharge height Maximum depth
H1 H2 D1  D2
15 ft  12/10 cu ft 25 cwt 28 ft  23 ft 8 ft 5 ft 20 ft
20 ft 10/8 cu ft  20 cwt 31 ft  21 ft 8 ft  10 ft 23 ft
22 ft 7/6 cu. ft. 15 cwt. 31 ft. 17 ft. 3 ft. 14 ft. 23 ft

Drag shovel

Capacity of bucket - 10 cu ft

Length of jib - 15 ft. 0 in.

Length of bucket arm  - 8 ft. 8 in

Width of cut - 2 ft. 6 in. to 3 ft. 0 in.

Preistman Wolf - Drag Shovel

Dragline

Length of jib Scoop Capacity Dumping Radius 'A' Throw 'B' Height 'C' Depth 'D'
32 ft 10 cu. ft 26 ft 10 ft. to 18 ft. 16 ft. 12 ft
40 ft. 10 cu. ft 26 ft 10 ft. to 18 ft. 25 ft 12 ft
32 ft 8 cu. ft. 30 ft. 10 ft. to 16 ft 11 ft 14 ft.
40 ft 8 cu. ft. 30 ft. 10 ft. to 16 ft 22 ft 14 ft.
40 ft. 6 cu. ft 35 ft 10 ft. to 14 ft 18 ft 16 ft.
40 ft. 5 cu. ft 40 ft 10 ft. to 12 ft. 8 ft 18 ft

 Preistman Wolf - Dragline

Skimmer

Capacity of bucket - 10 cu ft

Length of jib - 15 ft. 0 in.

Preistman Wolf - Skimmer

Lifting Crane

The diagram, below, illustrates the maximum permissible load and the operating radius for the three types of jib.

Preistman Wolf - Crane

Dimensions/Weights

Dimensions

  • Overall length of Base machine - 10 ft. 0 in

  • Overall width of cab - 8 ft. 0 in

  • Overall height (top of cab) - 10 ft. 2 in

  • Overall width of tracks - 7 ft. 1 in.

  • Overall length of tracks - 8 ft. 1 in

  • Width of track plates - 1 ft. 6 in.

  • Length of track on ground - 6 ft. 0 in

  • Ground clearance (centre of undercarriage frame) - 1 ft. 0 in.

Weights

  • Base machine only - 7 tons 8 cwt

  • Base machine with face shovel - 8 tons 15 cwt

  • Base machine with skimmer - 8 tons 15 cwt

  • Base machine with drag shovel - 8 tons 15 cwt

  • Base machine with dragline (32 ft. jib) - 9 tons 10 cwt

  • Base machine with dragline (40 ft. jib) - 9 tons 15 cwt

  • Base machine with grab (26 ft. jib) - 10 tons 0 cwt

  • Base machine with grab (32 ft. jib) - 10 tons 0 cwt

  • Base machine with lifting crane (26 ft. jib) - 9 tons 10 cwt

  • Base machine with lifting crane (32 ft. jib) - 9 tons 10 cwt

 

Blaw Knox ½ cu yd, Truck mounted, Model BK50 excavator and attachments
 
Description
  1. The excavator consists of a base machine mounted on a Douglas four wheel drive, six wheeled pneumatic tyred chassis, powered by a Leyland diesel engine which drives the road wheels when travelling. The base . machine comprises a cab which houses a Perkins diesel engine, the excavator controls, and the mechanism for operating the attachments.

  2. The attachments which may be fitted to the machine are:

    1. Face shovel with crowding gear

    2. Dragline

    3. Crane

    4. Skimmer.

A common jib is used for the dragline and the crane, but separate jibs are used for the face shovel and the skimmer; an auxiliary "A" frame is fitted to the base machine when the skimmer attachment is fitted.

  1. Outriggers with steadying jacks are fitted to the chassis and are used, when the machine is stationary, to stabilize the machine and increase the load carrying capacity of the attachment being operated; this is of particular advantage when using the crane attachment.

  2. The machine can be travelled with any of the attachments fitted to it, but precautions must be taken when travelling with a crane or dragline attachment; the dragline bucket should be supported on the chassis, between the truck cab and the excavator cab, and should not swing suspended from the jib. It is not advisable to travel long distances by road with the dragline or crane jib fitted.

Stores Ref

  • Base machine - 89A/90
  • Dragline attachment - 89A/92
  • Crane group - 89A/94
  • Face shovel attachment - 89A/96
  • Skimmer attachments - 89A/98

This item of equipment appears to have been added to the 2nd Edition by the issue of AL86.

Excavator Specification

Make and mode - Blaw Knox, model BK50

Type - Truck-mounted

Attachments

  • Face shovel, complete with jib, bucket arms and accessories

  • Dragline with 35 ft. jib, bucket, fairlead and accessories'

  • Lifting crane group for converting dragline attachment to a double line crane attachment

  • Skimmer with jib, auxiliary "A" frame, bucket and accessories

Engines/Chassis Excavator Engine - Perkins, Model P6, 6 cylinder, OHV, water cooled, diesel:  BHP - 50 at 1,450 rpm (governed).

Truck engine - Leyland, Model OE 600, 6 cylinder, OHV, water cooled, diesel:  BHP - 125 at 1,800 rpm (governed).

Chassis

  • Douglas, 6 x 4, Model TK64
  • 10 ton towing hook at rear, 10 ton towing jaw and pin at front
  • Five forward speeds and one reverse
Operating Data Base Machine on chassis

Average speed (including gradients up to 1 to 10)

  • First class roads - 21 mph.

  • Second class roads - 16 mph.

Maximum speed on level road - 25 mph

Maximum gradient that can be negotiated - 1 in 3.42

Turning circle - 53 ft

Height of jib foot pin - 5 ft. 8 in

Slewing radius, jib foot pin - 2 ft. 2 in.

Slewing radius, rear of cab - 7 ft. 6 in.

Overall width with outriggers extended - 10 ft. 4 in.

Blaw Knox BK 50, Base Machine on chassis

Machine equipped with face shovel attachment

Length of Jib (pin centre to pulley centre) - 15 ft 9 in

Length of bucket arm - 12 ft 5½ in

Bucket capacity - ½ cu yd.

Blaw Knox BK 50, face shovel

Fig ref Angle of jib 35o 40o 50o 60o
         
A Minimum digging radius over side of chassis  7 ft 3 in  7 ft 5 in

  7 ft 8 in

7 ft 10 in
B Minimum digging radius over corner of outrigger  10 ft 11 in 11 ft 3 in 11 ft 5 in 11 ft 4 in
C Maximum digging radius 28 ft 8 in 23 ft 1 in 21 ft 9 in 20 ft 4 in
D Dumping radius 20 ft 2 in 19 ft 4 in 17 ft 4 in 14 ft 10 in
E Jib radius 16 ft 0½ in 15 ft 2½ in 13 ft 3½ in 11 ft 0½ in
F Bucket height (at radius C) 11 ft 3 in 11 ft 10 in 12 ft 10 in 13 ft 8 in
G Dumping height 12 ft 0½ in 13 ft 6½ in 16 ft 2½ in 18 ft 5½ in
H Height of jib 15 ft 4 in 16 ft 6 in 18 ft 5 in 20 ft 10 in
J Maximum digging height 17 ft 3½ in 19 ft 0½ in 22 ft 2½ in 24 ft 10½ in
K Maximum depth below grade 3 ft 7½ in 3 ft 1½ in 2 ft 1½ in 1 ft 4½ in
L Minimum digging radius over end of chassis 8 ft 5 in 8 ft 3 in 8 ft 5 in 9 ft 4 in
M Minimum digging radius over corner of chassis 10 ft 0 in 10 ft 1 in 10 ft 3 in 10 ft 5 in
N Maximum radius at grade 15 ft 8 in 15 ft 5 in 14 ft 8 in -

Rope sizes

  • Shovel hoist rope - 77 ft. x 5/8 in. dia.(2 in circum.)

  • Crowd roe - 55 ft. x in. 5/8 dia. (2 in. circum.)

  • Jib hoist rope - 95 ft. x in. ½ dia. (1 in. circum.)

  • Trip rope - 30 ft. x in. 5/16 dia. (1 in. circum.)

Machine equipped with dragline attachment

Length of jib - 35 ft. 0 in

 Rope sizes

  • Jib hoist rope - 175 ft. x ½ in. dia. (1-5/8 in. circum.)

  • Holding rope - 77 ft. x 5/8 in. dia. (2 in. circum.)

  • Digging rope - 55 ft. x 5/8 in. dia. (2 in. circum.)

  • Bucket rope - 44 ft x 5/8 dia (2 in circum)

 

Fig ref Angle of jib 35o 40o 50o 60o
         
A Dumping height 14 ft 5 in 17 ft 1 in 19 ft 7 in 21 ft 10 in
B Jib height (clearance) 23 ft 8 in 26 ft 4 in 28 ft 10 in 31 ft 1 in
C Maximum depth 17 ft 4 in 14 ft 9 in 12 ft 4 in 10 ft 1 in
D Dumping radius 33 ft 0 in 31 ft 6 in 29 ft 6 in 27 ft 6 in
E Maximum digging radius 42 ft 0 in 41 ft 6 in 40 ft 0 in 39 ft 6 in

Machine equipped with crane attachment

Length of jib - 35 ft. 0 in.

Crane - operating loads

Operating radius Angle of jib Maximum load with outriggers extended Maximum load without outriggers Maximum height of lift
11 ft. 2 in 75 deg 5 tons 12 cwt 2 tons 13 cwt. 33 ft.
15 ft. 68 deg. 3 tons 17 cwt. 1 ton 18 cwt. 32 ft.
20 ft 59 deg. 2 tons 11 cwt 1 ton 8 cwt 29 ft. 6 in
25 ft. 49 deg 1 ton 18 cwt 1 ton 1 cwt 26 ft
30 ft 36 deg.  l ton 5cwt 16 cwt. 21ft.

Note

If these maximum loads are not exceeded the jib can be stewed through 360 deg.  When travelling with these loads the jib must face directly to the rear and the speed must not exceed 4 mph.

Rope Sizes

  • Jib joist rope - 175 ft. x ½ in. dia. (1 in. circum.)

  • Lifting rope - 115 ft. x 5/8 in. dia. (2 in. circum.)

Machine equipped with skimmer attachment

Length of skimmer jib - 21 ft. 3 in

Maximum skimming radius - 23 ft. 4 in.

Maximum stroke (bucket travel) - 9 ft. 10 in.

Clearance radius at max. dumping height - 13 ft. 6 in. (412 cm.)

Maximum dumping height - 20 ft. 10 in

Clearance height at maximum clumping height - 25 ft. 9 in

Rope sizes

  • Derricking rope - 67 ft. 6 in. x 5/8 in. dia. (2 in. circum.)

  • Digging rope - 107 ft. 6 in. x5/8  in. dia. (2 in. circum.)

  • Auxiliary A-frame rope - 55 ft. 0 in. x ½ in. dia. (1 in. circuit)

  • Bucket trip rope - 33 ft. 0 in. x 3/16 in. dia.

  • Trip motor rope - 7 ft. 6 in. x 5/16 in. dia. (1 in. circum.)

Base machine on chassis (no jibs)

Dimensions

  • Overall length - 22 ft. 10½ in

  • Overall width - 8 ft. 0 in.

  • Overall height with floodlights - 12 ft. 6 in.

  • Overall height without floodlights - 11 ft. 6 in.

  • Wheelbase - 13 ft. 6 in.

  • Distance between centres (front wheel to rear wheel) - 15 ft. 9½ in.

  • Minimum ground clearance (under rear axles) - 11 in

  • Track, front wheels -  5 ft. 6 in.

  • Track, rear wheels - 6 ft. 0 in

Weight - 38,040 lb.

Machine with face shovel attachment (in travelling condition)

Machine with face shovel attachment (in travelling condition)

When travelling long distances by road with the face shovel attachment fitted the bucket is raised above the normal operating position and the bucket arm is bolted to brackets secured to the jib; this increases the stability of the front of the machine, and improves the driver's view.

Dimensions

  • Overall length - 29 ft 0 in (88 cm

  • Overall width - as base machine

  • Overall height - as base machine

Weight - 43,420 lb

Machine equipped with dragline (in travelling condition)    

Dimensions    

  • Overall length - 44 ft. 6 in.

  • Overall width - as for base machine

  • Overall height - 15 ft. 1 in.

Weight - 41,450 lb.

Machine equipped as crane (in travelling condition)

Dimensions    

  • Overall length - as for dragline

  • Overall width - as for base machine

  • Overall height - as for dragline

 

Machine equipped as crane (in travelling condition)

Machine equipped with skimmer attachment (in travelling condition)

Machine equipped with skimmer attachment (in travelling condition)

When travelling long distances by road with the skimmer attachment fitted, the bucket must be locked in position by bolting the bucket trolley to the jib; this will prevent the ropes from being strained unduly. A bolt-hole is l)rovided in the rear end of the bucket trolley for this purpose.

Dimensions 

  • Overall length - 28 ft. 10 in.

  • Overall width - as for base machine

  • Overall height - 15 ft. 3 in

Weight - 43,417 lb

The dates of the various Amendment Lists are shown below: -

Amendment List

Date of issue

Amendment List

Date of issue

Amendment List

Date of issue

Amendment List

Date of issue

1

 Mar 1951

26

Nov 1951

51

Aug 1952

76

 Mar 1956

2

May 1951

27

Nov 1951

52

Nov 1952

77

May 1956

3

Jul 1951

28

Nov 1951

53

Mar 1953

78

May 1956

4

Jul 1951

29

Nov 1951

54

Mar 1953

79

Jun 1956

5

Aug 1951

30

Nov 1951

55

Mar 1953

80

 Jul 1956

6

Sep 1951

31

Dec 1951

56

Apr 1953

81

Aug 1956

7

Sep 1951

32

Dec 1951

57

Apr 1953

82

Aug 1956

8

Sep 1951

33

Dec 1951

58

Jun 1953

83

Sep 1956

9

Sep 1951

34

Dec 1951

59

Jun 1953

84

Dec 1956

10

Sep 1951

35

Dec 1951

60

Jul 1953

85

Apr 1957

11

Sep 1951

36

Dec 1951

61

Sep 1953

86

Jul 1957

12

Sep 1951

37

Dec 1951

62

Sep 1953

87

Jul 1957

13

Sep 1951

38

Dec 1951

63

Feb 1954

88

Oct 1957

14

Sep 1951

39

Dec 1951

64

Mar 1954

89

May 1958

15

Sep 1951

40

Dec 1951

65

Aug 1954

90

May 1958

16

 Sep 1951

41

Dec 1951

66

Sep 1954

91

Aug 1958

17

 Sep 1951

42

Jan 1952

67

Oct 1954

92

Sep 1958

18

Oct 1951

43

Jan 1952

68

Oct 1954

93

Dec 1958

19

Oct 1951

44

Feb 1952

69

Dec 1954

94

Feb 1959

20

Oct 1951

45

Mar 1952

70

?

95

Mar 1959

21

Nov 1951

46

Apr 1952

71

?

96

Feb 1959

22

Nov 1951

47

May 1952

72

Sep 1955

97

Apr 1959

23

Nov 1951

48

Jun 1952

73

Nov 1955

98

Jul 1959

24

Nov 1951

49

Jun 1952

74

Nov 1955

99

Nov 1960

25

 Nov 1951

50

Jul 1952

75

Feb 1956

 

 

   

Back to Index Index                                    [Top of Page]                             Part 2 Forward to Earth Moving Equipment - Part 2

This page was last updated on 18/03/25©

   [Top of Page]